Part 4 - Test for Fire Door Control
Systems
1 Application
Where a control system of fire doors is required to be able
to operate in case of fire, the system shall comply with this part.
2 Fire test procedure
The fire door control systems shall be tested and evaluated
in accordance with the test procedure presented in the appendix to this part.
3 Additional requirements
Part 1 of this annex is
also applicable to insulation materials used in connection with a
fire door control system.
Appendix - Fire Test Procedure for
Fire Door Control Systems
1 General
1.1 Fire door control systems which are intended
to be used for fire doors capable of operating in case of fire shall
be tested in accordance with the fire test procedure described in
this appendix independent of its power supply (pneumatical, hydraulic
or electrical).
1.2 The fire tests shall be a prototype test and
be carried out with the complete control system in a furnace dimensioned
according to resolution A.754(18).
1.3 The construction to be tested shall be, as
far as practicable, representative of that to be used on board ships,
including the materials and method of assembly.
1.4 The functions of the control system including
its closing mechanism shall be tested, i.e. normal functions of and,
if required, emergency function, including switchover functions, if
this is a basis of the manufacturer's design. The required kind of
installation and functions shall be evident from a detailed function
description.
2 Nature of prototype control
systems
2.1 The installation of the prototype control
system shall fully comply with the manufacturer's installation manual.
2.2 The prototype control system shall include
a typical door arrangement connected to the closing mechanism. For
the purpose of the test a door model shall be used. In case of sliding
doors, the model door shall run in original door tracks with original
supporting and guide rollers. The model door shall have the weight
of the largest door to be actuated by this control system.
2.3 In case of pneumatic or hydraulic systems,
the actuator (cylinder) shall have the maximum length allowed by the
furnace.
3 Materials for prototype
control systems
3.1 Specifications
Prior to the test, drawings and the list of materials of
the test arrangement shall be submitted to the laboratory by the applicant.
3.2 Control measurements
3.2.1 The testing laboratory shall take reference
specimens of all those materials whose characteristics are important
to the performance of the prototype control system (excluding steel
and equivalent material).
3.2.2 If necessary, non-combustibility tests of
insulation material in accordance with part 1 shall be conducted.
Adhesives used in the construction of the specimen are not required
to be non-combustible, however, they shall have low flame-spread characteristics.
3.2.3 The density of each insulation material
shall be determined. The density of mineral wool or any similar compressible
material shall be related to the nominal thickness.
3.2.4 The thickness of each insulation material
and combination of materials shall be measured by using a suitable
gauge or callipers.
4 Conditioning of the prototype
control systems
4.1 Conditioning of the prototype control system
(except insulation) is not necessary.
4.2 If insulation material is used in the construction,
the prototype control system shall not be tested until the insulation
has reached an air dry condition. This condition is designed as an
equilibrium (constant weight) with an ambient atmosphere of 50% relative
humidity at 23°C.
Accelerated conditioning is permissible provided the method
does not alter the properties of component materials. High temperature
conditioning shall be below temperatures critical for the materials.
5 Mounting of the prototype
control systems
5.1 The prototype fire door control system and
the insulation, if used for protection of the system or parts of it,
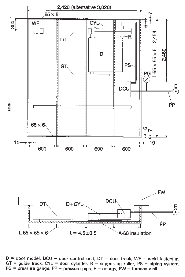
shall be mounted at the bulkhead plate as shown in figure 1.
Figure 1 Structural core for fitting the prototype fire door control
system
5.2 The structural core shall be mounted at the
furnace in accordance with the principles for 'A' class divisions
in paragraph 5 of resolution
A.754(18).
5.3 The door model shall be arranged within the
furnace. The structural core to which the system and the door model
are fitted shall have no door opening. However, small openings for
the release mechanism of the control systems are allowed.
6 Examination of the prototype
control systems
6.1 Conformity
The laboratory shall verify the conformity of the prototype
control system with the drawings and method of assembly provided by
the applicant (see section 2),
and any area of discrepancy shall be resolved prior to commencement
of the test.
6.2 Operation of the prototype control system
Immediately prior to the test, the laboratory shall check
the operability of the system by opening the door model by a distance
of at least 300 mm. The door model shall then be closed.
7 Instrumentation
The furnace and the instrumentation of the furnace shall
be in accordance with section 7 of
the Annex to resolution A.754(18).
8 Method of test
8.1 Commencement of test
Not more than 5 min before the commencement of the test,
the initial temperatures recorded by all thermocouples shall be checked
to ensure consistency and the datum values shall be noted. Similar
datum values shall be obtained for deformation, and initial condition
of the prototype control system shall be noted.
At the time of the test, the initial average internal temperature
shall be 20 ±10°C and shall be within 5°C of the initial
ambient temperature.
8.2 Furnace control
The furnace control shall be in accordance with paragraph 8.3 of the Annex to resolution
A.754(18)
8.3 Temperatures, duration of testing and actions
during test
8.3.1 The average furnace temperature shall be
increased and stabilized at 200 ±50°C within 5 min and
kept at the level of 200° ±50°C up to the end of the
first 60 min. Then the average furnace temperature shall be increased
according to the standard time-temperature curve beginning with the
level of 200°C up to 945°C.
8.3.2 The opening and closing function of the
door control mechanism shall be activated every 5 min from the beginning
of the test for the duration of 60 min.
8.3.3 The automatic switchover shall isolate the
door control system from the power supply at the average furnace temperature
of 300°C and shall be able to keep the door closed at least up
to 945°C.
8.4 Measurements and observations on the prototype
control system
In case of pneumatic or hydraulic systems, the input pressure
which shall be identical with the approved system pressure shall be
recorded. Due to a high input pressure, necessary safety precautions
shall be taken when the test is carried out.
9 Classification criteria
9.1 During the first 60 min of the test, a prototype
fire door control system shall not fail.
9.2 During the period from the end of the first
60 min until the end of the test, the door shall remain closed.
10 Test report
The test report shall include all important information
relevant to the prototype control system and the fire test, including
the following specific items:
-
.1 the name of the testing laboratory and the
test date;
-
.2 the name of the applicant for the test;
-
.3 the name of the manufacturer of the prototype
control system and of the products and components used in the construction,
together with identification marks and trade names;
-
.4 the constructional details of the prototype
control system, including description and drawings and principal details
of components. All the details requested in section 2 shall be given.
The description and the drawings which are included in the test report
shall, as far as practicable, be based on information derived from
a survey of the prototype control system. When full and detailed drawings
are not included in the report, then the applicant's drawing(s) of
the prototype control system shall be authenticated by the laboratory
and at least one copy of the authenticated drawing(s) shall be retained
by the laboratory; in this case reference to the applicant's drawing(s)
shall be given in the report together with a statement indicating
the method of endorsing the drawings;
-
.5 all the properties of materials used that have
a bearing on the fire performance of the prototype control system
together with measurements of thickness and density of the insulation
material(s);
-
.6 a statement that the test has been conducted
in accordance with the requirements of this Appendix and if any deviations
have been made to the prescribed procedures (including any special
requirements of the Administration), a clear statement of the deviations;
-
.7 the name of the representative of the Administration
present at the test. When the test is not witnessed by a representative
of the Administration, a note to this effect shall be made in the
report in the following form:
-
.8 information concerning the location of the
pressure gauges or other devices together with tabulated data obtained
during the test;
-
.9 observations of significant behaviour of the
prototype control system during test and photographs, if any; and
-
.10 a statement that the prototype fire door control
system has passed the test and complies with the classification criteria.
|
| Copyright 2022 Clasifications Register Group Limited, International Maritime Organization, International Labour Organization or Maritime
and Coastguard Agency. All rights reserved. Clasifications Register Group Limited, its affiliates and subsidiaries and their respective
officers, employees or agents are, individually and collectively, referred to in this clause as 'Clasifications Register'. Clasifications
Register assumes no responsibility and shall not be liable to any person for any loss, damage or expense caused by reliance
on the information or advice in this document or howsoever provided, unless that person has signed a contract with the relevant
Clasifications Register entity for the provision of this information or advice and in that case any responsibility or liability is
exclusively on the terms and conditions set out in that contract.
|
 |
|