2 Determination of the Probability of Flooding of Ship Spaces
Clasification Society 2024 - Version 9.40
Statutory Documents - IMO Publications and Documents - Resolutions - Assembly - IMO Resolution A.684(17) – Explanatory Notes to the Solas Regulations on Subdivision and Damage Stability of Cargo Ships of 100 Metres In Length and Over – (Adopted on 6 November 1991) - Annex - Explanatory Notes to the SOLAS Regulations on Subdivision and Damage Stability of Cargo Ships of 100 Metres in Length and Over - Part A - 2 Determination of the Probability of Flooding of Ship Spaces

2 Determination of the Probability of Flooding of Ship Spaces

2.1 Consideration of longitudinal damage location and extent only

 The simplest case is to consider the location and length of damage in the longitudinal direction. This would be sufficient for ships with no longitudinal and horizontal watertight structural divisions.

 With the damage location x and damage length y as defined in Figure 1, all possible damages can be represented by points in a triangle which is also shown in this figure.

Figure 1 Longitudinal damage location triangle

 All damages which open single compartments of length l i are represented in Figure 1 by points in triangles with the base l i. Triangles with the base l i+ l j (where j = i+1) enclose points corresponding to damages opening either compartment i, or compartment j, or both of them. Correspondingly, the points in the parallelogram ij represent damages which open both the compartments i and j.

 Damage location x and damage length y are random variables. Their distribution density f(x,y) can be derived from the damage statistics. The meaning of f(x,y) is as follows (see Figure 2): the total volume between the x-y plane and the surface given by f(x,y) equals one and represents the probability that there is damage (this has been assumed to be certain). The volume above a triangle corresponding to damage which opens a compartment represents the probability that this compartment is opened. In a similar manner for all areas in the x-y plane which correspond to the opening of compartments or group of compartments, there are volumes which represent the probability that the considered compartments or group of compartments are opened.

Figure 2 3-Dimensional representation of damaged compartment

 The probability that a compartment or a group of adjacent compartments is opened is expressed by the factor p i as calculated according to Regulation 25-5.

 Consideration of damage location x and damage length y only would be fully correct in the case of ships with pure transverse subdivision. However, there are very few, if any, such ships - all normally have a double bottom, at least.

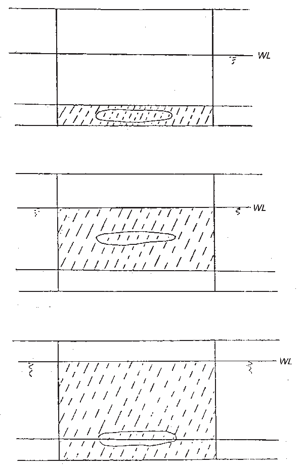
 In such a case, the probability of flooding a compartment should be split up into the following three components: probability of flooding the double bottom only, probability of flooding the space above the double bottom only and probability of flooding both the space above and the double bottom itself (see Figure 3). For each of these cases there may be a different probability that the ship will survive in the flooded condition. A way out of this dilemma, which may be used in applying these new regulations, is to assume that the most unfavourable vertical extent of damage (out of the three possibilities) occurs with the total probability p. Therefore the contribution to survival probability made by more favourable cases is neglected. That the concept is still meaningful for comparative purposes follows from the fact that the error made by neglecting favourable effects of horizontal subdivision is not great and the more important influence of longitudinal damage location and extension is fully covered.

Figure 3 Flooding of a compartment showing the 3 components of probability

 Some examples for dealing with other cases of horizontal subdivision are given in appendix 1.

2.2 Consideration of horizontal subdivision above a waterline

 In the case where the ship has a horizontal subdivision above a waterline, the vertical extent of damage may be limited to the depth of that horizontal subdivision. The probability of not damaging the horizontal subdivision is represented by the factor v i, as calculated according to Regulation 25-6. This factor represents the assumed distribution function of the vertical extent of damage and varies from zero for subdivision at the level of the waterplane, linearly upwards to the value of one at the level conforming to the minimum bow height according to the 1966 Load Line Convention (see Figure 4).

Plot of assumed distribution function of the vertical extent of damage against vertical distance

2.3 Consideration of damage penetration in addition to longitudinal damage location and extent

 With the simplifying assumption that the damage is rectangular and with the vertical extent of damage according to 2.2, the damage can be described by the damage location x, the damage length y and the damage penetration z (see Figure 5). These variables can be represented in a three-dimensional co-ordinate system, as shown in Figure 6. Each point in the prism, with triangular base, represents a damage.

Plan view of ship showing longitudinal damage location, extent and penetration

3-Dimensional representation of a triangular based prism co-ordinate system showing damage volume

 All damages which open a side compartment correspond to the points of a smaller prism with height b equal to the distance of the longitudinal bulkhead from the ship's side, which is erected above a triangle with the base l i equal to the length of the side compartment under consideration. It is not difficult to identify in Figure 5 the volumes which correspond to such damage which flood other parts of the ship bounded by transverse and longitudinal watertight structural subdivisions.

 Damage location x, damage length y and damage penetration z are random variables. The distribution density f(x,y,z) can be derived from damage statistics. This distribution density can be illustrated by assuming it to be a density which varies from point to point of the volume shown in Figure 6. The "weight" of the total volume is one and represents the probability that there is a damage (which is assumed to be certain). The "weight" of a partial volume (representing the flooding of certain spaces) represents the probability that the spaces under consideration are opened.

 The probability that a side compartment is opened can be expressed as p i r, where p i is to be calculated according to Regulation 25-5.1 and r according to Regulation 25-5.2. The probability that a centre compartment (extending at least to the ship's centreline) is opened, in addition to the adjacent side compartment, can be expressed as p i(1-r).

 Some examples for the calculation of the probability that side or side plus centre spaces are opened are given in appendix 2.

 Again, it must be stated that the probability calculated on the basis of the simplifying assumptions mentioned above is not exact. Nevertheless, it gives a comparative measure of how the probability of opening spaces depends on transverse and longitudinal structural subdivisions, and thus takes account of the most essential influences, whilst neglecting secondary effects. Neglecting the random variation of longitudinal and transverse damage extent would be a much greater error than that which is caused by neglecting these secondary effects.


Copyright 2022 Clasifications Register Group Limited, International Maritime Organization, International Labour Organization or Maritime and Coastguard Agency. All rights reserved. Clasifications Register Group Limited, its affiliates and subsidiaries and their respective officers, employees or agents are, individually and collectively, referred to in this clause as 'Clasifications Register'. Clasifications Register assumes no responsibility and shall not be liable to any person for any loss, damage or expense caused by reliance on the information or advice in this document or howsoever provided, unless that person has signed a contract with the relevant Clasifications Register entity for the provision of this information or advice and in that case any responsibility or liability is exclusively on the terms and conditions set out in that contract.